Friendly people quick loading and overnight parking if your in a pinch at the dock I’d suggest call ahead

Custom Plastic Extrusions for Designers and Engineers

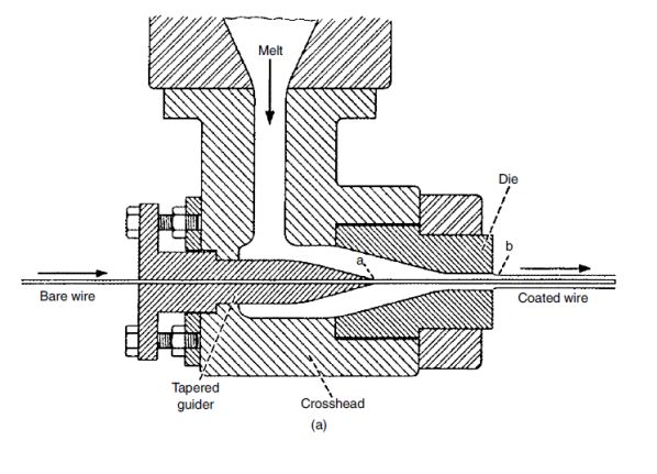
Lakeland Plastics provides plastic crosshead extrusion services that apply durable, functional coatings to a variety of substrates.

With over 50 years of experience, Lakeland Plastics offers trusted plastic crosshead extrusion services for customers across a wide range of industries. Our coating line can apply waterproof, decorative, or protective layers to virtually any substrate you need coated. Some of the substrates we have successfully coated include cable, pipe (steel, aluminum, and copper), wire, electrical conduit, chain, wooden dowels, rope, and other extrusions. Whether you need a waterproof seal, a protective barrier, or a decorative finish, our crosshead extrusion capabilities are built to meet your exact specifications with precision and consistency.
The crosshead extrusion process involves feeding a substrate through a 90-degree crosshead die, where a molten plastic layer is applied with uniform coverage. This process allows for complete, end-to-end coating in a single, continuous pass, resulting in a strong bond between the plastic and the base material. Lakeland Plastics leverages advanced tooling and engineering expertise to ensure a clean finish and long-lasting performance, no matter the complexity of the job.
At Lakeland Plastics, we deliver plastic crosshead extrusion solutions tailored to your product’s unique needs. Whether you’re enhancing electrical insulation, weatherproofing exposed materials, or adding an eye-catching finish, our custom coating solutions help improve functionality, extend product life, and meet industry-specific standards. Backed by our in-house design, tooling, and fabrication capabilities, we make it easy to bring your vision to life with precision and speed.


At Lakeland Plastics, we use a carefully selected range of high-performance thermoplastic materials for crosshead extrusion coatings, each chosen to provide flexibility, durability, and protection. Our coating materials include flexible PVC available in multiple durometers, HDPE, LDPE, and nylon—allowing us to deliver custom coatings that are long-lasting. Our experienced team works closely with you to help select the best material for your specific project and application, ensuring optimal performance and results every time.
Designed to add a waterproof, decorative, or protective coating over a wide range of substrates:

Friendly people quick loading and overnight parking if your in a pinch at the dock I’d suggest call ahead
Just delivered. The guy that unloaded me was awesome. In and out in 15 minutes. Give that man a raise!
I met with Lakeland Plastics this week. They were very professional to meet with. They were generous with their time and were helpful educating me on the plastics industry. While we weren’t a fit for each other in this instance , I can tell that anyone looking for extrusions would be in great hands. I appreciate the referrals and care they provided me.
Great company to work with, they hold a high standard of quality in the work they do with great communications!
We initially faced challenges with a product that required one side to be white and the other black. The previous process involved painting one side, which was time-consuming and resulted in inconsistent quality. However, discovering Lakeland Plastics was a game-changer for us. Their ability to extrude with one side white and the other black not only eliminated the need for painting but also improved our product quality tenfold.
The team at Lakeland Plastics has been outstanding. Mary at the front desk is a true jack-of-all-trades, always providing the answers we need quickly and efficiently. Mike, the owner, and our salesperson, Phil, along with the entire shipping department, have been incredibly helpful and accommodating throughout our partnership.
We highly recommend Lakeland Plastics for their innovative solutions and exceptional customer service.
We have a 40+ year business relationship with Lakeland Plastics. They are a key business partner offering excellent products, communication, and service.
Lakeland Plastics have really exceeded our expectations. Quality work and precise production have helped my buisiness keep moving forward. I highly recommend this company to anyone for any quality product/profile they may need.
Preferential treatment is the standard for all customers at Lakeland, allowing a level playing field for everyone involved. They have worked with us for over 10 years, helping to develop a patented product and providing outstanding customer service throughout. It has been an absolute delight working with honest and caring individuals who not only work toward getting things right the first time, but they work tirelessly at making sure goals are met. We consider Lakeland part of the family, and we highly recommend their attention to detail, top level customer service and exemplary design team.
Lakeland has been arguably one of the best manufacturers I have ever worked with. I came to them with a unique extrusion use case and they were able to help with my design. They managed the project with zero friction, or high added costs. The part quality is quite honestly flawless, meeting my specific use case need. The accessibility to the team is always easy and prompt. I didn’t wait days, or weeks for quotes and was able to get my product produced and to the market in a much shorter time frame than several other mfg’s I contacted quoted. Now my product is sold in over 40 states and two countries and proudly produced in the USA. I know this is a long post and I don’t usually do reviews. However, while I maybe a small fish compared to some of their production levels/ capabilities…..my involvement with Lakeland has felt more like family than being just a number on the balance sheet. They will have my business as long as my industry need exists. Hopefully a very long time. So grateful I found this needle in a hay stack. Especially if it is an extruded product you need….highly recommend giving them a shot.
“We’ve had a long-standing partnership with Lakeland Plastics to support building our OTTOLOCK cinch lock bands. Our specifications are not simple and the Lakeland team has consistently demonstrated they are up for the job with a great approach to making the outcome better. We wouldn’t be here without Lakeland and appreciate their mindset in business and customer relationships.”
“Lakeland Plastics is a trusted partner for over 25 years…The reason I like to work with their team is because of the personal attention that they invest into their customers…I know that the job will get done on time and on budget.”
“Lakeland Plastics has been a valued partner of our company for 40+ years…They are and have consistently been one of our top tier partners – valued relationship which I would highly recommend pursuing.”
Plastic extrusion has become one of the most essential processes in modern manufacturing because it allows manufacturers to produce long, continuous shapes with precise cross-sections. Its adaptability and efficiency have made it a preferred method for creating custom plastic profiles that are used across countless industries. Whether it’s for structural support, sealing solutions, or aesthetic…
Plastic plays a behind-the-scenes role in countless products we rely on every day. From the plastic tubing in medical devices to the window frames in our homes, this process is a driving force in manufacturing efficiency and innovation. By converting raw plastic materials into long, continuous shapes, extrusion makes it possible to create everything from…
Whether it’s creating components for machinery or crafting intricate parts for consumer products, the ability to achieve precise dimensions is crucial. One technology that excels in this arena is custom plastic profile extrusion. In this article, we’ll explore the art of custom plastic profile extrusion and how it revolutionizes manufacturing processes by ensuring precise dimensions.…